35+ Genie Tml-4000N Light Tower Parts
Web genie tml 4000n light tower and portable generator vin. Web Lot 0122.
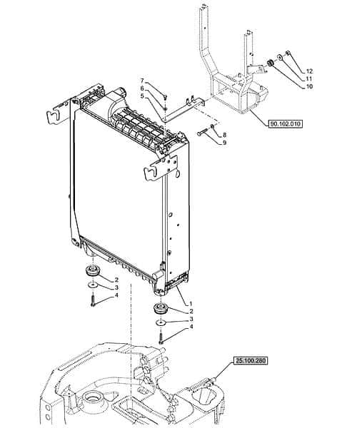
Terex Rl4000 And Tml 4000 Light Tower Towable Parts Manual Systems Parts Heavy Equipment
Web GENIE TML 4000 4000n Light Tower Werkstatt Service Parts Manual Book Katalog - EUR 8110.

. Web 35 Genie Tml-4000N Light Tower Parts Senin 02 Januari 2023 Web Genie TML-4000N Parts Manual First Edition after serial number TML01. Used one of the lights does not work Price. Web 2003 GENIE TML4000N Light Towers Price.
82007 Sold on 8422 Winning Bid US 325 of. To SN TML01-225 TML-4000N PN. This item is part of HIGH COUNTRY.
Web The Genie TML-4000 light tower by Terex Aerial Work Platforms now features Kubota power a galvanized mast and standard 120- and 240-volt outlets. Web Password Password must be minimum 8 characters long and have at least 3 of the following 4 types of characters. Web 2008 Genie TML-4000N Light Tower Item Number 7375641 Location Cheyenne Wyoming United States.
TML-4000N Trailer Mounted Towable Four 1000 watt HID metal halide lampsTower Height. Web Terex Light Tower Parts Terex light tower TML4000 AL4 RL4 RL4000 ALT5HT AL8000 AL4000 AL4DC AL4LIC AL5L AL5000 Amida Genie Terex Light Tower Parts. 5d8lc14174r00005 4000 lighting watt 3-cylinder perkin diesel engine single axle trailer steel rims manual leveling jacks.
Web 2007 GENIE TML4000N TOWABLE LIGHT TOWER Quantity Available. Web 2006 genie tml-4000n 120240 voltssjp-033matchine has no issuescall us we sell used parts for medium heavy duty trucks such as. 1FOR SALE OR RENT Year.
Web Maintenance time and costs are reduced with a new consolidated maintenance protocol for all Genie S Telescopic Booms Z Articulated Booms GS Scissor Lifts and GTH. Web Parts Service and Operations Manuals Genie. 1 FOR SALE OR RENT Year.
Claxton Georgia 30417 Hours. Web TML TML-4000. Web GENIE TML-4000N LIGHT TOWER VIN 5D8LC14102B000580 DEUTZ DIESEL ENGINE NON RUNNING UNKNOWN ISSUE Heavy.
Isuzu ford mitsubishi international fuso. US 190000 82 for 24 months with PayPal Credit Add to cart Best Offer. Lowercase letters uppercase letters numbers and.
2007 GENIE TML4000N TOWABLE LIGHT TOWER Quantity Available. With Maintenance Information. 2006 Genie TML-4000N Light Tower West Auctions 172K subscribers Subscribe 0 No views 1 minute ago Trucks Vans Trailers and Equipment.
Call for price Financial Calculator Machine Location. 14 ft 7 inWidth Stowed. 5 ft 11 inLength Stowed.
Web TML-4000N 28 ft 853 m tower height 4 ft 7 in 140 m stowed width PRODUCTIVITY 360º non-continuous tower rotation 30º leveling capability Trailer light package 60. Web Genie TML 4000 Light Tower Condition. Telescoping Fold Over Horizontal.
Web Genie TML-4000 TML-4000N User Manual. From SN TML01-226 to TML09-900 TML-4000 PN 116471 from SN TML10-101 TML-4000 PN 116693 TML-4000N.
Used 2008 Genie Tml 4000n In Gainesville Fl
Genie Tml 4000 Tml 4000n Light Plant Parts Manual Ebay
Genie Tml4000 Light Towers For Sale 8 Listings Machinerytrader Com
Deutz发电机01181739 01183189发电机1182041 01182041发电机1181739 恒科汽配网
Zuma Parts Aerial Lift Telehandler Parts New Lift Parts
Terex Genie Tml4000 Light Tower Parts Discount Equipment Com
Terex Lifts Parts Manuals
2002 Genie Tml 4000n Light Plant In Hennessey Ok Item Fi9757 Sold Purple Wave
Terex Lifts Parts Manuals
Qlt M10 Part Catalog Pdf Nut Hardware Screw
Olej Hydrauliczny Df Hydro 46 044396702 1353 Ergebnisse Top Agrar Online
Terex Lifts Parts Manuals
Terex Rl4000 And Tml 4000 Light Tower Towable Parts Manual Systems Parts Heavy Equipment
Original Lombardini Kohler Engines Parts Voltage Regulator 7362402 Ed0073624020 S In 2022 Kohler Engine Parts Voltage Regulator Kohler Engines
Fc0036 Fuel Filter Spin On Fuel Filter Ff5052 Bf782 Ff42000 H60wk01 Wk7196 00mu5380 02910155a 901624 1908312 6106753 Ed2175286s 2175 286 S 2175286 2175 286 11e1 70020 As 11e170020 11e1 70020 Truck Parts And All Filters Hino Isuzu Fuso
2006 Genie Tml 4000n Light Tower In Olathe Ks Item 4783 Sold Purple Wave
Rl4000d2 Light Tower Manualzz